Chevrolet Spark manuals

Mazda CX-5 Service & Repair Manual: Engine Mount Disassembly/Assembly

Mazda CX-5 Service & Repair Manual / Engine / Engine Assembly / Motor Mounts / Engine Mount Disassembly/Assembly

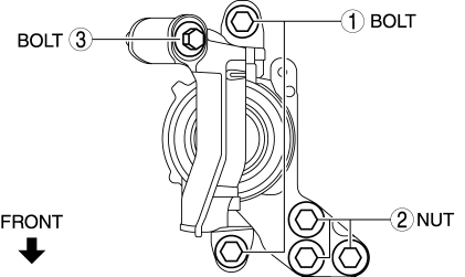
No.1 Engine Mount (2WD)

1. Remove the front under cover No.2..

2. Remove in the order indicated in the table.

3. Install in the reverse order of removal.



1

No.1 engine mount rubber

(See No.1 engine mount rubber removal note (2WD).)

(See No.1 engine mount installation note (2WD).)

2

Bracket plate (No.1)

(See No.1 engine mount installation note (2WD).)

3

No.1 engine mount bracket

(See No.1 engine mount installation note (2WD).)

4

Bracket plate (No.2)

(See No.1 engine mount installation note (2WD).)


No.1 engine mount rubber removal note (2WD)

1. Loosen the bolts shown in the figure.


NOTE:

2. Remove the No.1 engine mount rubber.

No.1 engine mount installation note (2WD)

1. Install the No.1 engine mount bracket, plate (No.1), and plate (No.2) and temporarily tighten the installation bolts.

2. Tighten the bolt shown in the figure.


3. Install the No.1 engine mount rubber and temporarily tighten the installation bolts.

4. Tighten the No.1 engine mount bracket, plate (No.1) and plate (No.2) installation bolts in the order shown in the figure.


5. Tighten the No.1 engine mount rubber installation bolts.


No.1 Engine Mount (AWD)

NOTE:

1. Remove the front under cover No.1 and front under cover No.2..

2. Set the front mudguard away from the front crossmember and front bumper..


3. Remove the splash shield..

4. Remove in the order indicated in the table.

5. Install in the reverse order of removal.

6. Inspect the front wheel alignment..



1

Bracket plate

(See No.1 engine mount rubber, bracket plate installation note (AWD).)

2

No.1 engine mount rubber

(See No.1 engine mount rubber removal note (AWD).)

(See No.1 engine mount rubber, bracket plate installation note (AWD).)

3

No.1 engine mount bracket

(See No.1 engine mount bracket removal note (AWD).)

(See No.1 engine mount bracket installation note (AWD).)


No.1 engine mount rubber removal note (AWD)

1. Remove the joint bolt (steering gear side) and disconnect the steering shaft from the steering gear and linkage..

2. Disconnect the front crossmember extension.


3. Remove the insulator shown in the figure.


4. Disconnect the hanger rubber from the front crossmember and set it aside.


5. Disconnect the front stabilizer link (front stabilizer side)..

6. Remove the No.1 engine mount rubber installation bolt (front crossmember side).


7. Support the front crossmember component using a jack.


8. Loosen the front crossmember installation bolts (8) and lower the front crossmember component to 15—20 mm {0.60—0.78 in}.


NOTE:

9. Remove the No.1 engine mount rubber.


No.1 engine mount bracket removal note (AWD)

1. Remove the front crossmember component and No.1 engine mount rubber as a single unit..

2. Remove the exhaust manifold..

3. Remove the transfer..

4. Remove the No.1 engine mount bracket.

No.1 engine mount bracket installation note (AWD)

1. Install the No.1 engine mount bracket and tighten the bolts in the order shown in the figure.


2. Install in the reverse order of removal.

No.1 engine mount rubber, bracket plate installation note (AWD)

1. Install the No.1 engine mount rubber to the front crossmember.

2. Tighten the front crossmember installation bolts..

3. Remove the jack.

4. Tighten the No.1 engine mount rubber installation bolts.


5. Install in the reverse order of removal.

No.3 Engine Mount

CAUTION:

1. Disconnect the negative battery cable..

2. Remove the plug hole plate..

3. Remove in the order indicated in the table.

4. Install in the reverse order of removal.



1

No.3 engine mount

(See No.3 engine mount removal note.)

(See No.3 engine mount installation note.)


No.3 engine mount removal note

1. Remove the clips shown in the figure and set the ground cable aside.


2. Remove the front under cover No.2..

CAUTION:

3. Before removing the No.3 engine mount, support the engine (oil pan) using a commercially available engine lifter or garage jack.


4. Place alignment marks on the locations shown in the figure so that they can be assembled to the same positions as before removal.


NOTE:

5. Remove the No.3 engine mount.

No.3 engine mount installation note

NOTE:

1. Tighten the No.3 engine mount stud bolts.


2. Temporarily tighten the No.3 engine mount installation bolts and nuts using the following procedure:

a. Align the alignment marks on the body side and No.3 engine mount, and temporarily tighten the bolts shown in the figure.


b. Temporarily tighten the nuts shown in the figure while aligning the alignment marks of the No.3 engine mount and nuts.


NOTE:

3. Tighten the No.3 engine mount installation bolts and nuts in the order shown in the figure.



No.

Tightening torque

1

76—95 N·m {7.8—9.6 kgf·m, 57—70 ft·lbf}

2

82—95 N·m {8.4—9.6 kgf·m, 61—70 ft·lbf}

3

49—65 N·m {5.0—6.6 kgf·m, 37—47 ft·lbf}


4. Remove the engine lifter or garage jack.

5. Install in the reverse order of removal.

No.4 Engine Mount

CAUTION:

1. Disconnect the negative battery cable..

2. Remove the air cleaner, air hose and fresh air duct as a single unit..

3. Remove the battery tray and PCM component..

4. Remove in the order indicated in the table.

5. Install in the reverse order of removal.



1

No.4 engine mount rubber

(See No.4 engine mount rubber removal note.)

(See No.4 engine mount rubber installation note.)

2

No.4 engine mount bracket

(See No.4 engine mount bracket removal note.)

(See No.4 engine mount bracket installation note.)


No.4 engine mount rubber removal note

1. Remove the clips shown in the figure and set the wiring harness protector aside.


2. Remove the front under cover No.2..

CAUTION:

3. Before removing the No.4 engine mount rubber, support the transaxle using a commercially available engine lifter or garage jack.

4. Remove the No.4 engine mount rubber.

No.4 engine mount bracket removal note

1. Remove the bolt shown in the figure and set the ground cable aside.


2. Place alignment marks on the locations shown in the figure so that they can be assembled to the same positions as before removal.


NOTE:

3. Remove the No.4 engine mount bracket.

No.4 engine mount bracket installation note

NOTE:

1. Tighten the stud bolts for the transaxle.


2. Align the alignment marks on the No.4 engine mount bracket and nuts, and temporarily tighten the nuts shown in the figure.


3. Tighten the No.4 engine mount bracket installation nuts in the order shown in the figure.


4. Install the ground cable to the No.4 engine mount bracket.


No.4 engine mount rubber installation note

1. Install the No.4 engine mount rubber and temporarily tighten the bolts and nut shown in the figure.


2. Tighten the No.4 engine mount rubber installation bolts and nut in the order shown in the figure.



No.

Tightening torque

1, 2

131—153 N·m {14—15 kgf·m, 97—112 ft·lbf}

3

54—62 N·m {5.6—6.3 kgf·m, 40—45 ft·lbf}

4

81—99 N·m {8.3—10 kgf·m, 60—73 ft·lbf}


3. Remove the engine lifter or garage jack.

4. Install in the reverse order of removal.

Motor Mounts
...

Engine Mount
Purpose, Function The engine mount secures the engine and transaxle to the vehicle body, reducing vibration and noise. Construction The three points at the engine front (No.3 en ...

Other materials:

Rear Washer Hose Removal/Installation
1. Disconnect the negative battery cable.. 2. Remove the front over fender.. 3. Remove the mudguard (RH).. 4. Disconnect the rear washer hose A from the washer motor. 5. Remove the rear washer hose A from the washer tank hook. 6. Remove the rear washer hose A from clips A and B. 7. Disco ...

HomeLink Wireless Control System
NOTE HomeLink and HomeLink house are registered trademarks of Johnson Controls. The HomeLink system replaces up to 3 hand-held transmitters with a single builtin component in the auto-dimming mirror. Pressing the HomeLink button on the auto-dimming mirror activates garage doors, gates and oth ...

Turbine/Input Shaft Speed Sensor, Output Shaft Speed Sensor [Fw6 A EL, Fw6 Ax EL]
Purpose/Function The turbine/input shaft speed sensor detects the rotation speed of the input shaft (low clutch drum). The output shaft speed sensor detects the rotation speed of the output shaft (primary gear). The turbine/input shaft speed sensor and output shaft speed ...

© 2016-2026 Copyright www.mcx5.org