Chevrolet Spark manuals

Mazda CX-5 Service & Repair Manual: Front Stabilizer Removal/Installation

Mazda CX-5 Service & Repair Manual / Suspension / Front Suspension / Front Stabilizer Removal/Installation

CAUTION:

1. Remove the joint cover..

2. Disconnect the intermediate shaft from the steering gear and linkage..

3. Disconnect the front ABS wheel-speed sensor wiring harness installed to the steering knuckle and set it aside..


4. Remove in the order indicated in the table.

5. Install in the reverse order of removal.

6. Inspect the wheel alignment and adjust it if necessary..



1

Front stabilizer control link

2

Dynamic damper (if equipped)

3

Front crossmember component

(See FRONT CROSSMEMBER REMOVAL/INSTALLATION.)

4

Front stabilizer bracket

(See Front Stabilizer, Front Stabilizer Bushing and Front Stabilizer Bracket Installation Note.)

5

Front stabilizer bushing

(See Front Stabilizer Bushing, Front Stabilizer Bracket Installation Note.)

(See Front Stabilizer, Front Stabilizer Bushing and Front Stabilizer Bracket Installation Note.)

6

Front stabilizer

(See Front Stabilizer, Front Stabilizer Bushing and Front Stabilizer Bracket Installation Note.)


Front Stabilizer Bracket Removal Note

1. Secure the front stabilizer bracket flange using a vise.


Front Stabilizer Bushing, Front Stabilizer Bracket Installation Note

1. Install the front stabilizer bushing to the front stabilizer with its slit positioned rearward of the vehicle.


2. Install the front stabilizer bracket to the front stabilizer bushing by hand using the following procedure.

3. If the front stabilizer bracket cannot be installed by hand, install it using a vice.

CAUTION:

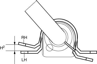
4. During front stabilizer bracket installation, keep the deviation in the positions of the front stabilizer bracket and the front stabilizer bushing within the range shown in the figure.


5. After installing the front stabilizer bracket, verify that the positions of the front stabilizer bracket and the front stabilizer bushing are within the range shown in the figure.


6. After installing the front stabilizer bracket, verify that the right and left-side positions of the front stabilizer bracket are within the range shown in the figure.


7. Place the front stabilizer component on a level workbench, and verify that it is within the range shown in the figure.


Front Stabilizer, Front Stabilizer Bushing and Front Stabilizer Bracket Installation Note

1. Temporarily tighten bolts A and B shown in the figure.


2. Tighten bolt A.

3. Tighten bolt B.

4. Tighten bolt A.

Front Stabilizer Control Link Inspection
1. Remove the front stabilizer control link.. 2. Inspect for bending or damage. If there is any malfunction, replace the front stabilizer control link. 3. Rotate the front stabilizer control lin ...

Front Suspension
Outline A strut type front suspension has been adopted. The connection area of the front crossmember and body is a 6-point rigid mount type. The cross-section o ...

Other materials:

Sas Control Module Configuration (Using Read/Write Function) [Standard Deployment Control System]
NOTE: When performing configuration, it is necessary to read the vehicle specification information from the SAS control module before replacing it. Connect the M-MDS to the vehicle and perform vehicle identification before removing the SAS control module. The vehicle specification i ...

Reporting Safety Defects (U.S.A.)
If you believe that your vehicle has a defect which could cause a crash or could cause injury or death, you should immediately inform the National Highway Traffic Safety Administration (NHTSA) in addition to notifying Mazda Motor Corporation (Your Mazda Importer/Distributor). If NHTSA receive ...

Pressure Control Valve [Skyactiv G 2.0]
U.S.A. And CANADA Purpose, function Prevents fuel tank damage by suppressing the vacuum applied to the fuel tank while the purge solenoid valve is open. Suppresses the vacuum applied from the charcoal canister side to the fuel tank. Construction Integrated with the ...

© 2016-2026 Copyright www.mcx5.org