Purpose
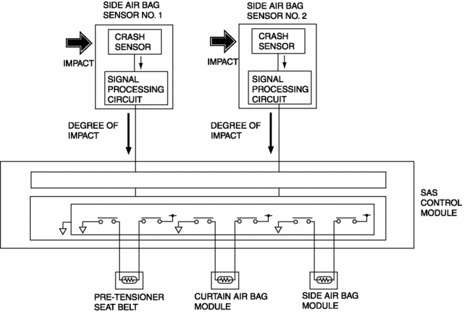
The side air bag sensor detects an impact during a lateral collision.
Function
The side air bag sensor converts the detected impact to an electrical signal.
Construction
The side air bag sensor is built into the crash sensor.
Two side air bag sensors are installed on each side for independent impact detection at the forward or the rearward side of the vehicle.
Side air bag sensor No.1 is placed in the lower part of the B-pillar lower trim.
Side air bag sensor No.2 is placed in the trunk side trim of the C-pillar.
	
Operation
The side air bag sensor detects an impact during a lateral collision.
The crash sensor built into the side air bag sensor detects the impact and converts the impact into an electrical signal at the signal processing circuit.
The side air bag sensor sends a signal indicating the degree of impact, which is converted to an electrical signal, to the SAS control module.
	
Fail-safe
Function not equipped.
 Side Air Bag Sensor Removal/Installation [Two Step Deployment Control System]
Side Air Bag Sensor Removal/Installation [Two Step Deployment Control System] Start Stop Unit
Start Stop UnitFront Fog Light
   Purpose
	
	By shining light in a wider area in front of the vehicle than the light from 
	the headlights, visibility during poor weather conditions, such as rain and 
	fog, has been improved. In addition, the visibility of the vehicle from on-coming 
	vehicles, pedestrians, and other people h ...
   
Hydraulic Variable Valve Timing Control
   Outline
	
	Changes the exhaust valve timing according to engine operation conditions 
	to improve engine output, fuel economy, and emission performance.
	
	
	Based on each input signal, the PCM determines the optimum exhaust valve 
	timing according to the engine operation conditions. The P ...
   
Oil Seal (Control Valve Body) Replacement [Fw6 A EL, Fw6 Ax EL]
   1. Disconnect the negative battery cable.. 
2. Remove the air cleaner component.. 
3. Disconnect the control valve body connector. 
CAUTION: 
	
	Make sure that your hand does not touch the terminal as the connector terminal 
	could be damaged.
	
	
	Water or foreign objects entering th ...