Purpose, Function
The shift and select mechanism moves the shift fork to change gears according to the operation of the shift lever in the cabin.
Construction

Shift control module
The moving parts of the shift control module are vertically positioned..

In this module, the control lever which moves the shift rod end is directly assembled to the control rod. In addition, because the control rod moves up and down, the weight of the control rod is utilized when the control rod moves down.
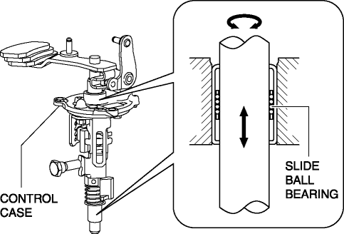
Slide ball bearing
A slide ball bearing has been adopted to the sliding area between the control rod and the transaxle case, and between the control rod and the control case.

In this part, the bearing case moves in the drive and thrust directions.
Compared to the conventional bushing, sliding resistance between the control rod and the transaxle case, and between the control rod and the control case has been reduced.
Operation
NOTE:
Shifting operations from neutral to each gear are explained in this section.
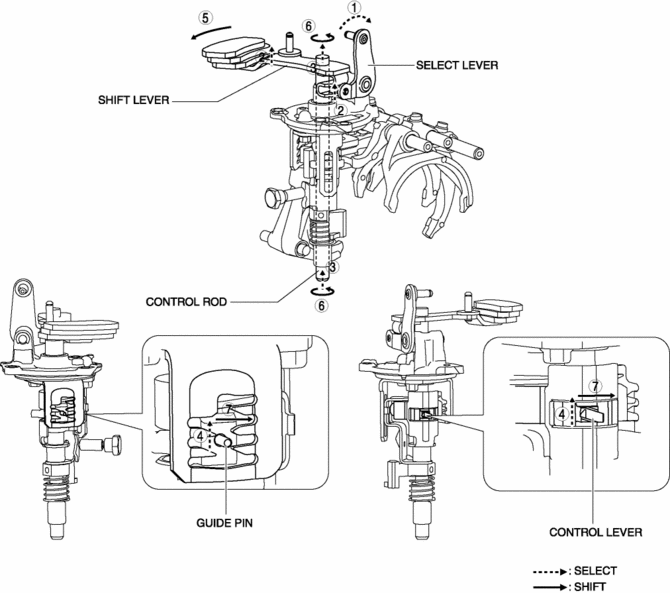
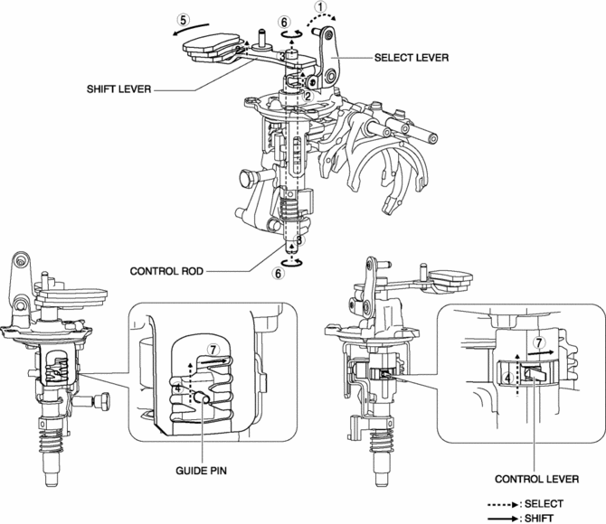
1GR

1. When the shift lever in the cabin is tilted to the left to shift to 1GR, the select lever moves in the direction of arrow 1 shown in the figure.
2. Following the movement of the select lever, the shift lever moves in the direction of arrow 2 shown in the figure.
3. Following the movement of the select lever, the shift lever moves in the direction of arrow 3 shown in the figure.
4. Following the movement of the select lever, the control lever and the guide pin move in the direction of arrow 4 shown in the figure.
5. When the shift lever in the cabin is tilted forward to shift to 1GR, the shift lever in the engine compartment moves in the direction of arrow 5 shown in the figure.
6. Following the movement of the shift lever in the engine compartment, the control rod moves in the direction of arrow 6 shown in the figure.
7. Following the movement of the shift lever in the engine compartment, the control lever and the guide pin move in the direction of arrow 7 shown in the figure.

8. Because the control rod turns with the control lever, the control lever pushes the shift rod end and moves it in the direction of arrow 8 shown in the figure.
9. The shift rod end and the shift fork are integrated with the shift rod. Therefore, the movement of the shift rod end is transmitted to the shift fork via the shift rod, and the shift fork moves in the direction of arrow 9.
10. The shift fork moves the clutch hub sleeve in the direction of arrow 10 shown in the figure.
11. The shift change to 1GR is completed.
2GR

1. When the shift lever in the cabin is tilted to the left to shift to 2GR, the select lever moves in the direction of arrow 1 shown in the figure.
2. Following the movement of the select lever, the shift lever moves in the direction of arrow 2 shown in the figure.
3. Following the movement of the select lever, the shift lever moves in the direction of arrow 3 shown in the figure.
4. Following the movement of the select lever, the control lever and the guide pin move in the direction of arrow 4 shown in the figure.
5. When the shift lever in the cabin is tilted rearward to shift to 2GR, the shift lever in the engine compartment moves in the direction of arrow 5 shown in the figure.
6. Following the movement of the shift lever in the engine compartment, the control rod moves in the direction of arrow 6 shown in the figure.
7. Following the movement of the shift lever in the engine compartment, the control lever and the guide pin move in the direction of arrow 7 shown in the figure.

8. Because the control rod turns with the control lever, the control lever pushes the shift rod end and moves it in the direction of arrow 8 shown in the figure.
9. The shift rod end and the shift fork are integrated with the shift rod. Therefore, the movement of the shift rod end is transmitted to the shift fork via the shift rod, and the shift fork moves in the direction of arrow 9.
10. The shift fork moves the clutch hub sleeve in the direction of arrow 10 shown in the figure.
11. The shift change to 2GR is completed.
3GR

1. When the shift lever in the cabin is tilted forward to shift to 3GR, the shift lever in the engine compartment moves in the direction of arrow 1 shown in the figure.
2. Following the movement of the shift lever in the engine compartment, the control rod moves in the direction of arrow 2 shown in the figure.
3. Following the movement of the shift lever in the engine compartment, the control lever and the guide pin move in the direction of arrow 3 shown in the figure.

4. Because the control rod turns with the control lever, the control lever pushes the shift rod end and moves it in the direction of arrow 4 shown in the figure.
5. The shift rod end and the shift fork are integrated with the shift rod. Therefore, the movement of the shift rod end is transmitted to the shift fork via the shift rod, and the shift fork moves in the direction of arrow 5.
6. The shift fork moves the clutch hub sleeve in the direction of arrow 6 shown in the figure.
7. The shift change to 3GR is completed.
4GR

1. When the shift lever in the cabin is tilted rearward to shift to 4GR, the shift lever in the engine compartment moves in the direction of arrow 1 shown in the figure.
2. Following the movement of the shift lever in the engine compartment, the control rod moves in the direction of arrow 2 shown in the figure.
3. Following the movement of the shift lever in the engine compartment, the control lever and the guide pin move in the direction of arrow 3 shown in the figure.

4. Because the control rod turns with the control lever, the control lever pushes the shift rod end and moves it in the direction of arrow 4 shown in the figure.
5. The shift rod end and the shift fork are integrated with the shift rod. Therefore, the movement of the shift rod end is transmitted to the shift fork via the shift rod, and the shift fork moves in the direction of arrow 5.
6. The shift fork moves the clutch hub sleeve in the direction of arrow 6 shown in the figure.
7. The shift change to 4GR is completed.
5GR

1. When the shift lever in the cabin is tilted to the right to shift to 5GR, the select lever moves in the direction of arrow 1 shown in the figure.
2. Following the movement of the select lever, the shift lever moves in the direction of arrow 2 shown in the figure.
3. Following the movement of the select lever, the shift lever moves in the direction of arrow 3 shown in the figure.
4. Following the movement of the select lever, the control lever and the guide pin move in the direction of arrow 4 shown in the figure.
5. When the shift lever in the cabin is tilted forward to shift to 5GR, the shift lever in the engine compartment moves in the direction of arrow 5 shown in the figure.
6. Following the movement of the shift lever in the engine compartment, the control rod moves in the direction of arrow 6 shown in the figure.
7. Following the movement of the shift lever in the engine compartment, the control lever and the guide pin move in the direction of arrow 7 shown in the figure.

8. Because the control rod turns with the control lever, the control lever pushes the shift rod end and moves it in the direction of arrow 8 shown in the figure.
9. The shift rod end and the shift fork are integrated with the shift rod. Therefore, the movement of the shift rod end is transmitted to the shift fork via the shift rod, and the shift fork moves in the direction of arrow 9.
10. The shift fork moves the clutch hub sleeve in the direction of arrow 10 shown in the figure.
11. The shift change to 5GR is completed.
6GR

1. When the shift lever in the cabin is tilted to the right to shift to 6GR, the select lever moves in the direction of arrow 1 shown in the figure.
2. Following the movement of the select lever, the shift lever moves in the direction of arrow 2 shown in the figure.
3. Following the movement of the select lever, the shift lever moves in the direction of arrow 3 shown in the figure.
4. Following the movement of the select lever, the control lever and the guide pin move in the direction of arrow 4 shown in the figure.
5. When the shift lever in the cabin is tilted rearward to shift to 6GR, the shift lever in the engine compartment moves in the direction of arrow 5 shown in the figure.
6. Following the movement of the shift lever in the engine compartment, the control rod moves in the direction of arrow 6 shown in the figure.
7. Following the movement of the shift lever in the engine compartment, the control lever and the guide pin move in the direction of arrow 7 shown in the figure.

8. Because the control rod turns with the control lever, the control lever pushes the shift rod end and moves it in the direction of arrow 8 shown in the figure.
9. The shift rod end and the shift fork are integrated with the shift rod. Therefore, the movement of the shift rod end is transmitted to the shift fork via the shift rod, and the shift fork moves in the direction of arrow 9.
10. The shift fork moves the clutch hub sleeve in the direction of arrow 10 shown in the figure.
11. The shift change to 6GR is completed.
Reverse

1. When the shift lever in the cabin is tilted to the left to shift to the reverse gear, the select lever moves in the direction of arrow 1 shown in the figure.
2. Following the movement of the select lever, the shift lever moves in the direction of arrow 2 shown in the figure.
3. Following the movement of the select lever, the shift lever moves in the direction of arrow 3 shown in the figure.
4. Following the movement of the select lever, the control lever and the guide pin move in the direction of arrow 4 shown in the figure.
5. When the shift lever in the cabin is tilted forward to shift to the reverse gear, the shift lever in the engine compartment moves in the direction of arrow 5 shown in the figure.
6. Following the movement of the shift lever in the engine compartment, the control rod moves in the direction of arrow 6 shown in the figure.
7. Following the movement of the shift lever in the engine compartment, the control lever and the guide pin move in the direction of arrow 7 shown in the figure.

8. Because the control rod turns with the control lever, the control lever pushes the shift rod end and moves it in the direction of arrow 8 shown in the figure.
9. The shift rod end and the shift fork are integrated with the shift rod. Therefore, the movement of the shift rod end is transmitted to the shift fork via the shift rod, and the shift fork moves in the direction of arrow 9.
10. The shift fork moves the clutch hub sleeve in the direction of arrow 10 shown in the figure.
11. The shift change to the reverse gear is completed.
Powertrain System [C66 M R]
Shift Control Module Removal/Installation [C66 M R]Fuel Gauge
Purpose
The fuel gauge notifies the user of the amount of remaining fuel.
Function
The instrument cluster calculates the amount of fuel in the fuel tank based
on the following CAN signals and displays the fuel gauge segments.
Fuel gauge sender unit voltage signal ...
Pre Tensioner Seat Belt [Two Step Deployment Control System]
Purpose
The pre-tensioner seat belt retracts and tightens the seat belt webbing to
protect the front passengers during a collision.
Function
The pre-tensioner seat belts operate (deploy) based on the operation signal
from the SAS control module to instantly retract and tigh ...
DSC HU/CM Removal/Installation
WARNING:
If the DSC HU/CM configuration is not completed, it could result in an unexpected
accident due to the DSC being inoperative. If the DSC HU/CM is replaced, always
use the automatic configuration function so that the DSC operation conditions
are correct.
If the DSC re ...