CAUTION:
When removing or putting in the rear seat cushion, contact with the surrounding areas of the vehicle could cause scratches and damage. When removing or putting in the rear seat cushion, always use two or more persons to perform the work and be careful not to scratch or damage the rear seat cushion and the surrounding area of the vehicle.
When performing the procedure with a rear seat cushion removed from the vehicle, perform the procedure on a clean cloth so as not to damage or soil the seat.
6:4 Split Type
1. Remove the rear seat cushion.
2. Slide hooks A in the order of (1), (2) shown in the figure to detach it from the rear seat cushion pad.

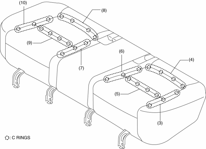
3. Partially peal back the rear seat cushion trim from the rear seat cushion pad, remove C rings in the order of (3), (4), (5), (6), (7), (8), (9), (10) shown in the figure,

CAUTION:
If a damaged C rings are reused, it may not be possible to install the rear seat cushion trim and rear seat cushion pad correctly. When removing and installing C rings, be careful not to damage them.
If a C rings are damaged, replace the C rings with a new one.
4. Install in the reverse order of removal.
4:2:4 Split Type
1. Remove the trunk board..
2. Remove the rear seat..
3. Slide hooks A in the order of (1), (2) shown in the figure to detach it from the rear seat cushion pad.

4. Partially peal back the rear seat cushion trim from the rear seat cushion pad, remove C rings in the order of (3), (4), (5), (6), (7) shown in the figure,

CAUTION:
If a damaged C rings are reused, it may not be possible to install the rear seat cushion trim and rear seat cushion pad correctly. When removing and installing C rings, be careful not to damage them.
If a C rings are damaged, replace the C rings with a new one.
5. Install in the reverse order of removal.
 Rear Seat Cushion Removal/Installation
Rear Seat Cushion Removal/Installation Rear Seat Removal/Installation
Rear Seat Removal/InstallationAmbient Temperature Sensor [Manual Air Conditioner]
   Purpose
	
	The ambient temperature sensor detects the ambient temperature.
	
Function
	
	The ambient temperature sensor converts the detected temperature to an electric 
	signal.
	
Construction
	
	A thermistor-type ambient temperature sensor has been adopted.
	
	
	The ambient ...
   
Power Steering
   Power Steering
• Power steering is only operable when the 
engine is running. If the engine is off or if the power steering system is inoperable, 
you can still steer, but it requires more physical effort.
If the steering feels stiffer than usual during normal driving or the steering 
vibrate ...
   
Throttle Position (TP) Sensor Inspection
   Voltage Inspection
CAUTION: 
	
	The inspection cannot be performed with this method correctly if there is 
	a malfunction of the APP sensor or throttle valve actuator. Verify that no DTCs 
	related to the APP sensor or throttle valve actuator are stored before the inspection.
	
NOTE: 
 ...