1. Disconnect the negative battery cable..
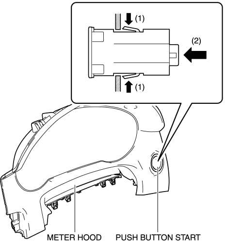
2. Remove the meter hood..
3. While pressing the push button start tab in the direction of the arrow (1) shown in the figure, push out the push button start in the direction of the arrow (2) shown in the figure to detach the push button start tab from the meter hood.

4. Remove the push button start.

5. Install in the reverse order of removal.
 Push Button Start Inspection
Push Button Start Inspection Sae Standards
Sae StandardsAntenna Feeder No.2 Inspection
   1. Disconnect the negative battery cable.. 
2. Remove the following parts: 
a. A-pillar trim (RH). 
b. Trunk board. 
c. Trunk end trim (RH). 
d. Rear scuff plate (RH). 
e. Trunk side trim (RH). 
3. Disconnect antenna feeder No.1. 
4. Disconnect antenna feeder No.3. 
5. Verify that t ...
   
Starter Inspection [Skyactiv G 2.0]
   On-vehicle Inspection
1. Verify that the battery is fully charged. 
2. The starter is normal if it rotates smoothly and without any noise when the 
engine is cranked. 
	
	If the starter does not operate, inspect the following:
	
	
		
		Remove the starter, and inspect the starter unit.
		 ...
   
Fuel Distributor [Skyactiv G 2.0]
   Purpose, Function
	
	Distributes fuel pumped from the high pressure fuel pump to each fuel injector.
	
Construction
	
	The fuel distributor is installed to the cylinder head.
	
	
	
	
	The fuel distributor is integrated with the fuel pressure sensor.
	
	
	
 ...