Purpose, Function
The powertrain mechanism changes the gear combination by engaging or releasing the clutch hub and gear, and changes the power transmission route. Because of the change in the power transmission route, the drive force (speed, torque, rotation direction) input from the engine is converted.
Construction

Operation
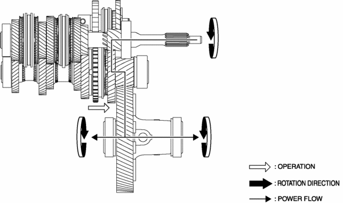
1GR

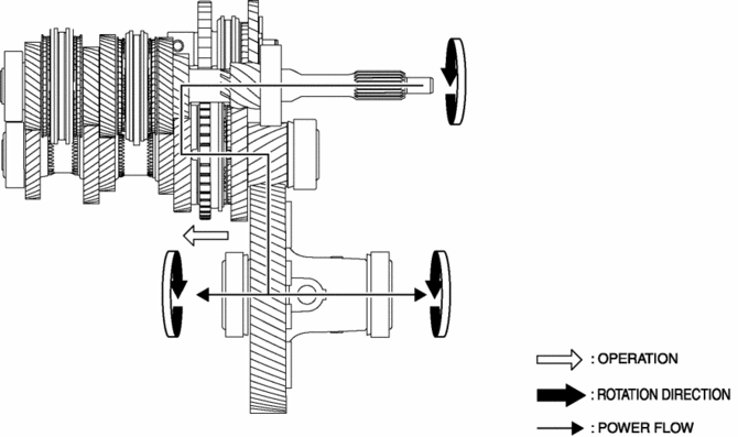
2GR

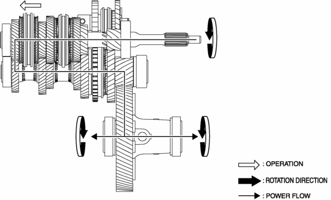
3GR

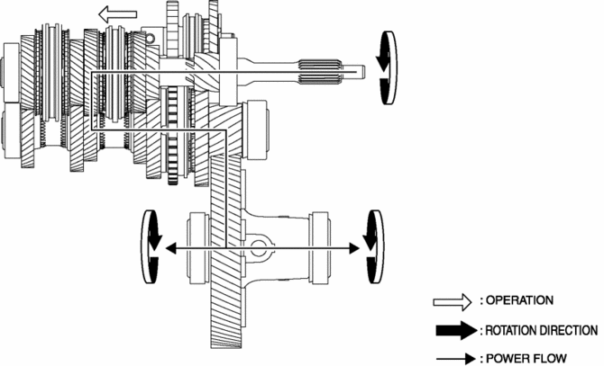
4GR

5GR

6GR

Reverse

Powertrain System Outline [Fw6 A EL, Fw6 Ax EL]
Pressure Control Solenoid [Fw6 A EL, Fw6 Ax EL]Differential Oil Temperature Sensor Inspection
WARNING:
Hot differential oil may cause severe burns. Do not perform maintenance while
differential oil is hot.
1. Disconnect the negative battery cable.
2. Disconnect the differential oil temperature sensor connector and remove the
differential oil temperature sensor.
3. Wrap ...
Bsm Indicator Light Flashes While Not Under Bsm Indicator Light Flashing Conditions
(No Combination Switch Operation (Turn Signal Switch)) [Blind Spot Monitoring (Bsm)]
Description
BSM indicator light flashes while not under BSM indicator light-flashing
conditions (no combination switch operation (turn signal switch)
The BSM indicator light flashes despite not satisfying the BSM indicator
light flashing ...
Blind Spot Monitoring (Bsm) Bracket Removal/Installation
1. Disconnect the negative battery cable..
2. Remove the following parts:
a. Rear combination lights.
b. Rear bumper.
c. BSM control module.
3. Remove the nuts.
4. While pressing the clip tabs in the direction of the arrows (1) shown in the
figure, press the clip in the direction o ...