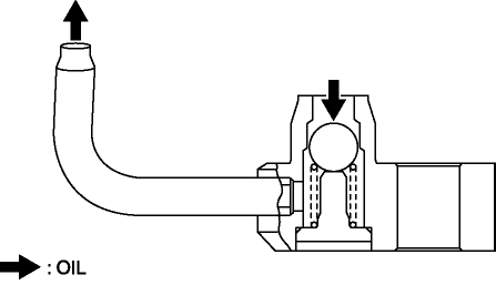
Purpose, Function
The oil jet valve injects engine oil on the back of the piston to cool the piston.
Construction
The oil jet valve is installed into the cylinder block.

The oil jet valve is built into the check ball and spring.

Operation
1. When the oil pressure applied to the check ball exceeds the spring force, the check ball and spring are pressed down.
2. The oil passage is opened to the nozzle and engine oil is injected to the back side of the piston.

3. When the oil pressure applied to the check ball is lower than the spring force, the spring presses up the check ball.
4. The oil passage to the nozzle is closed and the injection of engine oil stops.

Oil Filter
Oil Pan Removal/InstallationClimate Control Unit Inspection [Manual Air Conditioner]
1. Remove the climate control unit with the connector connected..
2. Switch the ignition ON (engine off or on).
3. Connect the negative (-) lead of the tester to the body ground.
4. By inserting the positive (+) lead of the tester into the climate control
unit connector, measure the voltage ...
B Pillar Lower Trim Removal/Installation
1. Remove the front scuff plate..
2. Remove the rear scuff plate..
3. Partially peel back the seaming welt.
4. Take the shaded area shown in the figure, and pull the B-pillar lower trim
in the direction of the arrow in the order of (1), (2) while detaching hooks A,
pins B.
5. Take th ...
Power Metal Oxide Semiconductor Field Effect Transistor (Power Mos Fet) [Full
Auto Air Conditioner]
Purpose
The power MOS FET controls the blower motor rotation speed.
Function
The power MOS FET controls the supply voltage to the blower motor based on
the gate voltage sent from the climate control unit, and adjusts the fan rotation
speed (airflow volume).
Constructi ...