1. Disconnect the negative battery cable..
2. Remove the following parts:
a. Liftgate upper trim.
b. Liftgate side trim.
c. Liftgate lower trim.
d. Liftgate garnish.
e. Liftgate opener switch.
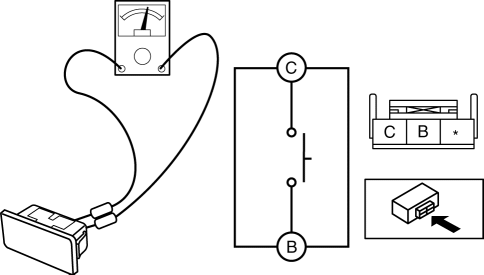
3. Verify the continuity of liftgate opener switch terminals B and C.

If not as indicated in the table, replace the liftgate opener switch.

Liftgate Lower Trim Removal/Installation
Liftgate Opener Switch Removal/InstallationCup Holder
WARNING
Never use a cup holder to hold hot liquids while the vehicle is moving:
Using a cup holder to hold hot liquids while the vehicle is moving is dangerous.
If the contents spill, you could be scalded.
Do not put anything other than cups or drink cans in cup holders:
Putting objects other ...
Front Shock Absorber And Coil Spring Disassembly/Assembly
WARNING:
Removing/installing the front shock absorber and coil spring is dangerous.
The front shock absorber and coil spring could fly off and cause serious injury
or death, and damage the vehicle.
1. Remove the front shock absorber and coil spring..
2. Remove in the order ...
Oil Pan Removal/Installation
WARNING:
Hot engines and engine oil can cause severe burns. Turn off the engine and
wait until it and the engine oil have cooled.
A vehicle that is lifted but not securely supported on safety stands is dangerous.
It can slip or fall, causing death or serious injury. Never work ...