Checking Preweld Measurements And Watching
Align to the standard reference dimensions, based upon the body dimensions illustration, so that new parts are installed in the correct position.

Welding Notes
For the number of weld points, welding should be performed in accordance with the following reference standards.

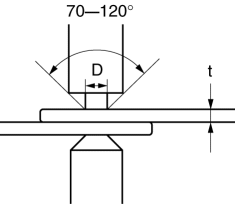
Spot Welding Notes
The shape of the spot welder tip is D=(2?t)+3. If the upper panel thickness is different from that of the under panel, adjust to the thinner one.

Because the weld strength is affected by the shape of the spot welder tip, the optimum condition of the tip should always be maintained.

Spot welds should be made at points other than the originally welded points.
Before spot welding, make a trial weld using the same material as the body panel to check the weld strength.

Checking Weld Strength
Installation locations of the engine, chassis, and seat belts are designated as important safety locations for weld strength. Check weld strength by driving a chisel between the panels at every fourth or fifth weld spot, and every tenth regular weld location.

Drive the chisel between the panels according to the number of panels as shown below.

To determine weld strength, drive the chisel between the panel and check whether the panels come apart. If the panels come apart, make another weld near the original weld.
Restore the shape of the checked area.
D Pillar Reinforcement (Lower) Removal [Panel Replacement]
Efficient Removal Of Body PanelsPassenger Compartment Temperature Sensor Inspection [Full Auto Air Conditioner]
1. Measure the temperature around the passenger compartment temperature sensor
and measure the resistance between passenger compartment temperature sensor terminals
A and B.
If the characteristics of the passenger compartment temperature sensor are
not as shown in the graph, replace t ...
Clutch Pipe And Hose Removal/Installation [C66 M R]
CAUTION:
Do not allow clutch fluid to get on a painted surface. Clutch fluid contains
properties which can dissolve the paint. If clutch fluid gets on a painted surface,
wash it off with water immediately and wipe the area off completely.
1. Disconnect the negative battery cable. ...
Negative Battery Cable Disconnection/Connection [Skyactiv G 2.0]
WARNING:
Before removing the SRS air bag system-related parts, always disconnect the
negative battery cable and wait for 1 min. or more to allow the back-up power
supply to deplete its stored power..
Required procedure after negative battery cable disconnection/connection
...