WARNING:
Handling the air bag module improperly can accidentally deploy the air bag module, which may seriously injure you. Read the air bag system service warnings and cautions before handling the air bag module..
1. Switch the ignition to off.
2. Disconnect the negative battery cable and wait for 1 min or more
..
3. Partially peel back the seaming welts.
4. Remove the following parts:
a. Sunroof seaming welt (with sunroof).
b. A-pillar trim.
c. Front map light.
d. Sunvisor.
e. Front scuff plate.
f. Rear scuff plate.
g. B-pillar lower trim.
h. Front seat belt adjuster cover.
i. Upper anchor of the front seat belt.
j. B-pillar upper trim.
k. Assist handle.
l. Trunk board.
m. Trunk end trim.
n. Trunk side trim.
o. D-pillar trim.
p. C-pillar trim.
5. Remove the headliner..
6. Using a flathead screwdriver, lift the locking device carefully, however do not remove it.


7. Disconnect the connector.
8. Remove the clip..
9. Remove bolts A.
10. Remove bolts B.
11. Pull hook A in the direction shown in the figure and remove it from the body.
12. Pull hook B in the direction shown in the figure and remove it from the body.
13. Remove the curtain air bag module.
14. Install in the reverse order of removal.
15. Switch the ignition ON (engine off or on).
16. Verify that the air bag system warning light illuminates for approx. 6 s
and goes out.
If the air bag system warning light does not operate normally, refer to the on-board diagnostic system (air bag system) and perform inspection of the system..
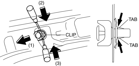
Clip Removal Note
1. Pull out the pin with flathead screwdriver as shown in the figure.

2. Insert a flathead screwdriver into shown in the figure.

3. While pulling the curtain air bag in the direction of the arrow shown in the figure (1), detach tabs by prying with a flathead screwdriver in the direction of the arrow (2) (3).

4. Remove the clip from the body.
Crash Zone Sensor [Standard Deployment Control System]
Curtain Air Bag Module [Standard Deployment Control System]Shift Lock System [Fw6 A EL, Fw6 Ax EL]
Purpose, Function
The shift-lock system operates when the ignition is switched to ON and the
brake pedal is not depressed, and inhibits the selector lever from being shifted
from the P position to other positions.
If the shift-lock cannot be released by the normal operation, it ...
Air Bag Module And Pre Tensioner Seat Belt Deployment Procedures [Two Step Deployment
Control System]
WARNING:
A live (undeployed) air bag module, pre-tensioner seat belt or lap pre-tensioner
seat belt may accidentally operate (deploy) when it is disposed of and cause
serious injury. Do not dispose of a live (undeployed) air bag module, pre-tensioner
seat belt or lap pre-tensioner s ...
Refrigerant Pressure Sensor Inspection [Full Auto Air Conditioner]
1. Install the manifold gauge.
2. Verify the high-pressure side reading of the manifold gauge.
3. Measure the terminal voltage at PCM terminal 2BB, 2AX and 2AJ
4. Using the graph below, measure and verify the terminal voltages at 2AX.
5. Follow the PCM inspection when measuring the other te ...