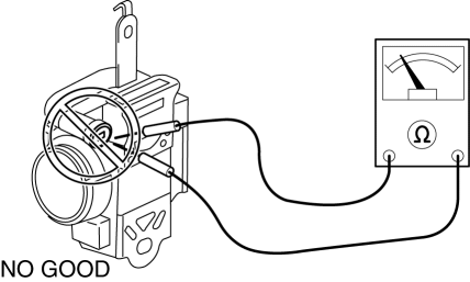
Air Bag Module Inspection
Inspecting an air bag module using a tester can operate (deploy) the air bag module, which may cause serious injury. Do not use a tester to inspect an air bag module. Always use the on-board diagnostic function to diagnose the air bag module for malfunctions.

Air Bag Module Handling
Before removing the air bag module or disconnecting the air bag module connector, always switch the ignition to off, disconnect the negative battery cable, and then wait for 1 min or more to allow the backup power supply of the SAS control module to deplete its stored power.
Handling a live (undeployed) air bag module that is pointed toward your body could result in serious injury if the air bag module were to accidentally operate (deploy). When carrying a live (undeployed) air bag module, point the deployment surface away from your body to lessen the chance of injury in case it operates (deploys).

A live (undeployed) air bag module placed with its deployment surface to ground is dangerous. If the air bag module were to accidentally operate (deploy), it could cause serious injury. Always place a live (undeployed) air bag module with its deployment surface up.

Side Air Bag Module Handling
Before removing the side air bag module or disconnecting the side air bag module connector, always switch the ignition to off, disconnect the negative battery cable, and then wait for 1 min or more to allow the backup power supply of the SAS control module to deplete its stored power.
When a side air bag module operates (deploys) due to a collision, the interior of the seat back (pad, frame, trim) may become damaged. If a side air bag does not operate (deploy) normally from a seat back that has been reused, a serious accident may result. After a side air bag has operated (deployed), always replace both the side air bag module and the seat back (pad, frame, trim) with new parts. After servicing, verify that the seat operates normally and that the wiring harness is not caught.
SAS Control Module Handling
When connecting or disconnecting the SAS control module connector, a person charged with static electricity could accidentally operate (deploy) each air bag module. Before connecting or disconnecting the SAS control module connector, discharge any charged static electricity from your body.
Removing the SAS control module or disconnecting the SAS control module connector with the ignition ON can activate the sensor in the SAS control module and operate (deploy) the air bags and pre-tensioner seat belts, which may cause serious injury. Before removing the SAS control module or disconnecting the SAS control module connector, always switch the ignition to off, disconnect the negative battery cable, and then wait for 1 min or more to allow the backup power supply of the SAS control module to deplete its stored power.
Connecting the SAS control module connector with the SAS control module not securely fixed to the vehicle is dangerous. The sensor in the SAS control module could send an electrical signal to the air bag modules and pre-tensioner seat belts. This will operate (deploy) the air bags and pre-tensioner seat belts, which may result in serious injury. Therefore, before connecting the connector, securely fix the SAS control module to the vehicle.
Because a sensor is built into the SAS control module, once the air bags and pre-tensioner seat belts have operated (deployed) due to a collision or other causes, the SAS control module must be replaced with a new one even if the used one does not have any visible external damage or deformation. The used SAS control module may have been damaged internally, which may cause improper operation. If the SAS control module is reused, the air bags and pre-tensioner seat belts may not operate (deploy) normally, which could result in a serious accident. Always replace the SAS control module with a new one. The SAS control module cannot be bench-checked or self-checked.
Crash Zone Sensor Handling
Removing the crash zone sensor or disconnecting the crash zone sensor connector with the ignition ON can activate the crash zone sensor and operate (deploy) the air bags and pre-tensioner seat belts, which may cause serious injury. Before removing the crash zone sensor or disconnecting the crash zone sensor connector, always switch the ignition to off, disconnect the negative battery cable, and then wait for 1 min or more to allow the backup power supply of the SAS control module to deplete its stored power.
If the crash zone sensor is subjected to shock or the sensor is disassembled, the air bags and pre-tensioner seat belts may accidentally operate (deploy) and cause injury, or the system may fail to operate normally and cause a serious accident. Do not subject the crash zone sensor to shock or disassemble the sensor.
Because a sensor is built into the crash zone sensor, once the air bags and pre-tensioner seat belts have operated (deployed) due to a collision or other causes, the crash zone sensor must be replaced with a new one even if the used one does not have any visible external damage or deformation. If the crash zone sensor is reused, the air bags and pre-tensioner seat belts may not operate (deploy) normally, which could result in a serious accident. Always replace the crash zone sensor with a new one. The crash zone sensor cannot be bench-checked or self-checked.
Side Air Bag Sensor Handling
Removing the side air bag sensor or disconnecting the side air bag sensor connector with the ignition ON can activate the side air bag sensor and operate (deploy) the side air bag, which may cause serious injury. Before removing the side air bag sensor or disconnecting the side air bag sensor connector, always switch the ignition to off, disconnect the negative battery cable, and then wait for 1 min or more to allow the backup power supply of the SAS control module to deplete its stored power.
If the side air bag sensor is subjected to shock or the sensor is disassembled, the side air bag may accidentally operate (deploy) and cause injury, or the system may fail to operate normally and cause a serious accident. Do not subject the side air bag sensor to shock or disassemble the sensor.
Because a sensor is built into the side air bag sensor, once the air bag has operated (deployed) due to a collision or other causes, the side air bag sensor must be replaced with a new one even if the used one does not have any visible external damage or deformation. If the side air bag sensor is reused, the side air bag may not operate (deploy) normally, which could result in a serious accident. Always replace the side air bag sensor with a new one. The side air bag sensor cannot be bench-checked or self-checked.
Pre-tensioner Seat Belt Inspection
Inspecting a pre-tensioner seat belt using a tester can operate (deploy) the pre-tensioner seat belt, which may cause serious injury. Do not use a tester to inspect a pre-tensioner seat belt. Always use the on-board diagnostic function to diagnose the pre-tensioner seat belt for malfunctions.

Air Bag System Service Warnings [Standard Deployment Control System]
Air Bag System Service Warnings [Two Step Deployment Control System]Windshield Wipers and Washer
The ignition must be switched ON.
WARNING
Use only windshield washer fluid or plain water in the reservoir:
Using radiator antifreeze as washer fluid is dangerous. If sprayed on the windshield,
it will dirty the windshield, affect your visibility, and could result in an accident.
Only use wind ...
Pre Tensioner Seat Belt [Standard Deployment Control System]
Purpose
The pre-tensioner seat belt retracts and tightens the seat belt webbing to
protect the front passengers during a collision.
Function
The pre-tensioner seat belts operate (deploy) based on the operation signal
from the SAS control module to instantly retract and tigh ...
Steering Wheel And Column Removal/Installation
WARNING:
Handling the air bag module improperly can accidentally operate (deploy)
the air bag module, which may seriously injure you. Read the service warnings
and cautions before handling the air bag module..
The steering column (EPS motor) temperature increases directly after ...